Our Family
History
J de Jonge makes history as a family company for more than 70 years as a next gen connector. Scroll down for a trip down memory lane.
Beginning of our Journey
Jan de Jonge Sr. began his journey as one of Shell’s first electric welders, laying the foundation for our legacy.

Fish Trade Relocation
The fish trade relocated from Vlaardingen to Scheveningen, marking a new chapter in maritime commerce.

The Founding of
J de Jonge Piping & Construction
Marking a significant milestone with the establishment of J de Jonge piping & construction, paving the way for future success.

First Piping Contract
Completed our first major EPC piping project at Matex Botlek (Liquin), setting a new standard in excellence.

First Prefab Workshop
Opened our first prefab workshop in Vlaardingen Hall 2, advancing our production capabilities.

First Hosetower
Delivered our first Hosetower, marking a major step in our engineering expertise.

Opening Second Workshop
Opened our second workshop in Vlaardingen Hall 1, boosting our production capacity.

First Tank Construction
Completed the construction of our first storage tanks, a key step in our growth journey.

The Second Generation
Jan de Jonge Jr. joined the company, continuing the family legacy and driving future success.

Opening Third Workshop
Opened our third workshop in Vlaardingen Hall 3, enhancing our capabilities and capacity.

Start Loading Arm Service
Added JLS brand-independent loading arm service to our portfolio of J de Jonge.

Ownership Transition
Transitioned ownership from Sr. to Jr., marking a new chapter in our journey.

First Hosetower in Kingdom of SA
Delivered our first hosetower in Kingdom of Saudi Arabia, marking a significant international achievement.

Start Engineering Company
Setting up JMEC Engineering Company, driving innovation and expertise forward.

Opening Belgium Office
Expanded our operations to Belgium, strengthening our international presence.

Opening Kingdom of SA Office
Expanded our presence to Kingdom of Saudi Arabia, marking a key step in our international journey.

Establishing Heat Exchanger Service
Launched Heat Exchanger Service, paving the way for new opportunities and growth.
Found TankTeam (now TankX)
Launched TankTeam (now TankX), opening doors to innovation and future growth.
Third Generation
Alexander de Jonge joined the company, bringing fresh energy and vision to our team.

Opening Workshops Belgium
Opened two workshops in Belgium, boosting our regional operations and capabilities.

Founding of JLA
Setting up JLA loading technology, delivering and exporting equipment to markets worldwide.

Swivel Joint Patent
Secured the swivel joint patent for marine loading arms and delivered one of the largest marine loading arm projects in the Kingdom of Saudi Arabia.

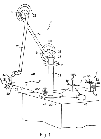
Patent on Revolutionizing Technology
Secured a patent for autonomous connecting marine loading arms, revolutionizing maritime operations.

New Leadership
Alexander de Jonge assumes the role of CEO, steering the company toward a dynamic future.

Rebranding TankTeam to TankX
Setting up TankX and developed our unique and patented tank jacking system, setting new industry standards.

World's First LNG Bunkerarm
Through hard work and innovation, we managed to produce and deliver the world's first LNG bunkerarm

American Expansion & Founding JE&A
Expanded operations to the USA and setting up J de Jonge Electrical & Automation, increasing our global and technological capabilities.

World's First Electric Loading Arm
We delivered the world’s first 100% electrified marine loading arm, setting a new benchmark in sustainable innovation and practices.

Expanding Workshops & Service
Opened three workshops in Kingdom of Saudi Arabia, setting up Progesso Torque, tensioning and machining and acquired HLP Pump & Process Solutions

New Headquarters
Relocated to a new zero-emission headquarters and production workshops, reinforcing our commitment to a greener future.


